| Sign In | Join Free | My tjskl.org.cn |
|
Brand Name : Cisco
Model Number : C4KX-PWR-750AC-R
Certification : CE
Place of Origin : China
MOQ : 50
Price : negonation
Payment Terms : Western Union, L/C, T/T, Paypal
Supply Ability : 1000
Delivery Time : 2-3days
Packaging Details : common package
Brand : Cisco
Model : C4KX-PWR-750AC-R
AC-input type : Autoranging input with power factor correction (PFC)
Frequency : 47 to 63 Hz (50/60 Hz nominal)
Voltage Provided : AC 100-240 V(115/230 VAC nominal) single-phase
Warranty : New and Original with 1year
C4KX-PWR-750AC-R Catalyst 4500X 750W AC front to back cooling power supply
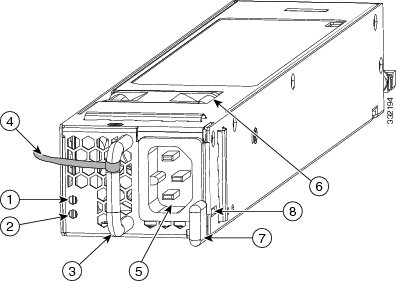
There are two versions of the 750 W AC-input power supply, the C4KX-PWR-750AC-F power supply which has back-to-front airflow (the release lever is color-coded blue indicating cool side) and the C4KX-PWR-750AC-R power supply which has front-to-back airflow (the release lever is color-coded burgundy indicating warm side). Both power supplies provide 750 W of power. Figure 1 shows the AC-input power supply and identifies the major features.
Figure 1 750 W AC-Input Power Supply Features

| 1 | FAIL LED (amber) | 5 | AC power cord receptacle (IEC 60320 C15) |
| 2 | OK LED (green) | 6 | Fan (directional arrow on top indicates airflow direction) |
| 3 | Power supply handle | 7 | Release lever (color-coded for airflow direction. Burgundy indicates front-to-back airflow; blue indicates back-to-front airflow) |
| 4 | AC power cord retaining strap (velcro) | 8 | Retention clip |
2. Specifications
C4KX-PWR-750AC-R= | |
| AC-input type | Autoranging input with power factor correction (PFC) |
| AC-input voltage | 100 to 240 VAC (115/230 VAC nominal) single-phase |
| AC-input current | •11 A @ 100 VAC (max) •6 A @ 200 VAC (max) |
| AC-input frequency | 47 to 63 Hz (50/60 Hz nominal) |
| Branch circuit requirement | Each chassis power supply should have its own dedicated, fused-branch circuit: •For North America—15 A •For International—Circuits should be sized to local and national codes •All AC power supply inputs are fully isolated. •Source AC can be out of phase between multiple power supplies in the same chassis, which means that PS1 can be operating from phase A and PS2 can be operating from phase B. |
| Power supply output capacity | 750 W |
| Power supply output | •12 VDC @ 62 A •3.3 VDC @ 3 A |
| Output holdup time | 16 ms minimum (20 ms @ 60% load) |
| BTU (total output)1 | 1122 BTU/hour (nominal) 1365 BTU/hour (max) |
| MTBF | 1,045,265 |
| AC-input power supply dimensions (H x W x D) | 1.57 x 2.15 x 14.28 in (3.99 x 5.46 x 36.27 cm) |
| Weight | 2 lb (0.91 kg) |
3.Company

Represented Brands
• LONRISE is certified dealer of Cisco in China, we are engaged in supplying whole series of Cisco networking products, such as switches, routers, access point(AP), firewall, fiber modules and EOPN,GOPN Telecom equipments


Add: Rm.805, Rongjin commercial building, Rongmei Rd,Songjiang 201613, Shanghai, China.
Whatsapp :+8613661507914
Skype:Wendy-Lonrise
|
|
C4KX-PWR-750AC-R Catalyst 4500X 750W AC Power Supply Front To Back Cooling Images |